央企长城资产山东分公司半年34次被执行33起标的为0元
凤凰网房产北京 2025-11-12 14:43
凤凰网房产北京讯 近期,央企中国长城资产管理股份有限公司山东省分公司(下称“长城资产山东分公司”)因半年内密集出现34次法院强制执行记录引发社会关注,其过往失信及限高记录更凸显事件特殊性。
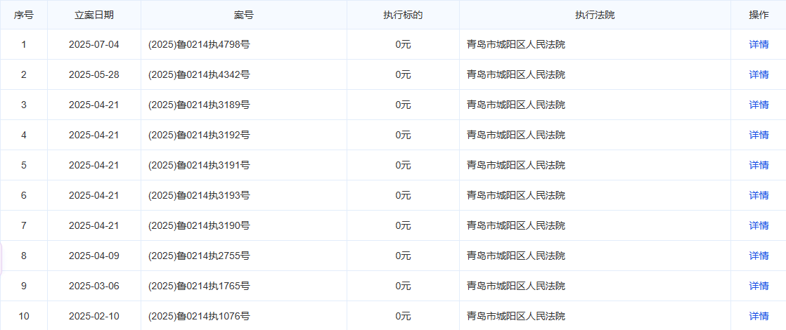
爱企查数据显示,今年2月至7月间,该公司累计被法院强制执行34次。其中33起案件的执行标的显示为0元,仅1起案件涉及41万元执行金额。这一异常数据引发对案件性质的讨论。据了解,执行标的为零可能存在执行内容非金钱给付、金钱债务已履行或抵销、执行过程中其他特殊情况等。







值得注意的是,该公司并非首次出现信用问题。公开信息显示,过去几年其曾因被列为失信被执行人,导致时任法定代表人两次被采取限制高消费措施。
作为央企分支机构,长城资产山东分公司所属的中国长城资产管理股份有限公司注册资本达 468亿元,前身为1999年国务院批准设立的资产管理公司,目前在全国设有32家分公司及8家控股公司,服务网络覆盖广泛。
截至目前,对于33起0元标的执行案件的具体成因,长城资产山东分公司尚未进一步公开说明。
免责声明:本文仅代表作者个人观点,与风财讯无关。其原创性以及文中陈述文字和内容未经本站证实,对本文以及其中全部或者部分内容、文字的真实性、完整性、及时性,本站不作任何保证或承诺,请读者仅作参考,请读者自行核实相关内容。
我来说两句0人参与 0评论
登录 后参与讨论
文明上网理性发言 0/400

